Thông báo chuyên mục mới

Kính thưa Qúy Vị,

Chúng tôi vừa cho tải lên phần văn cúng đầy đủ các thể loại cúng, có form điền đầy đủ họ tên, ngày tháng năm sinh gia chủ, địa chỉ, ngày tháng cúng...và hệ thống sẽ tự chuyển đổi ngày âm dương, can chi. Do đó quý vị sẽ không còn bị quên ngày tháng năm khi cúng nữa.

Giờ đây khi cúng quý vị sẽ đọc một mạch thông suốt, đầy đủ thông tin cần thiết, không còn phải khựng vì quên một số thông tin khi cúng

Xin mời Quý vị hãy vào đường link văn cúng để trải nghiệm thử, hoặc chúng tôi có để sẵn Form chọn ở trang chủ dưới mục Tứ Trụ,

Xin trận trọng cảm ơn!

XemTuong.net

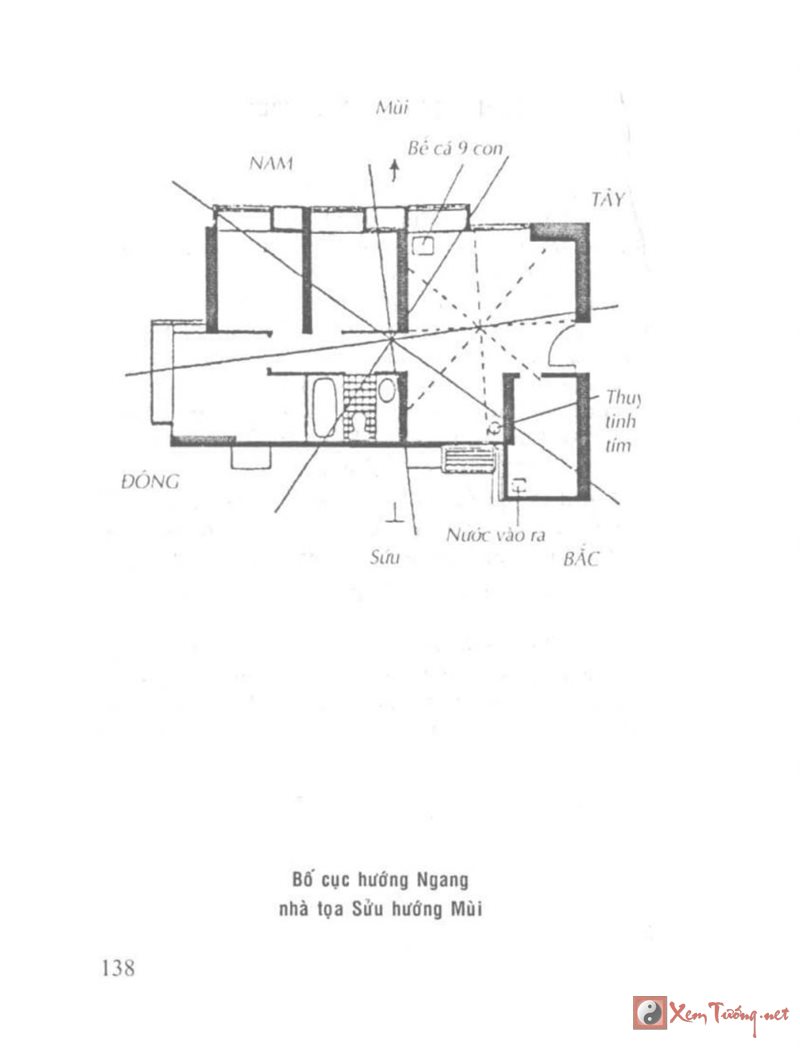
Trang 138


94 yeu màn tình duyên võ lư trung hỏa Thúy Tư vi Binh than sắm 强乎 Hội Quán Thánh vi Lời thiển Ngay tôt ngôi nhà ma de Dậu hình thái ngôi nhà Bổ dóng Tam hợp cặp đôi ma kết và nhân mã nhân tướng học của những người nổi Giải đáp tử vi bão ba gia Trần Đoàn chà cách xây nhà cấp 4 đẹp bố tuổi sửu hợp con tuổi gì chuyện tử vi Hội Nam Trì con giáp đón tin vui Hướng dẫn cách xin quẻ dịch hành thang 7 Đinh Ű Ű æ ć cδ đa lộc đa tài đa phú quý đắc thời Dọn hóa giải tại